Material: Iron
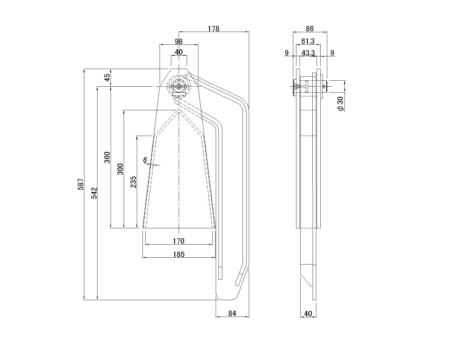
Dimensions // Height: 405mm, Width: 61mm, Pin diameter: φ30, Weight: 31.36kg
Dimensions //
*All illustrations show left-handed use.
Surface treatment: Black paint, pin: plating
Specifications // 1 set (left and right)
[Product Description]
The standard for tailgate hinges for soil transport dump trucks undergoing new inspections or preliminary inspections for the first time since January 1, 2016 has been unified and changed nationwide. Tailgate hinges can be installed up to 550mm high and 450mm wide from the top of the tailgate. This product is a high hinge that meets this standard. It is about 100mm higher than the conventional super hinge.
[Notes]
*When installing on a vehicle, please make sure to install in accordance with the standards of the Motor Vehicle Inspection and Registration System and vehicle safety standards.
*Sold in units of one unit.
◆Please read
*This product is a special order item.
*This product cannot be returned. Thank you for your understanding. ⇒About cancellations and returns
Notice from e-Concierge
Knowledge base articles related to the product
Other related articles
No review on this item...


